導讀 原標題:可折疊 iPhone?蘋果新專利:更復雜的鉸鏈設計來源:太平洋電腦網 根據美國商標和專利局(USPTO)公示的最新清單,蘋果再次獲得...
來源:太平洋電腦網
根據美國商標和專利局(USPTO)公示的最新清單,蘋果再次獲得了一項可折疊手機相關的專利。該專利改進了此前發布過的鉸鏈設計,并為可折疊 iPhone 設計了更為復雜的鉸鏈。

(圖源于網絡)
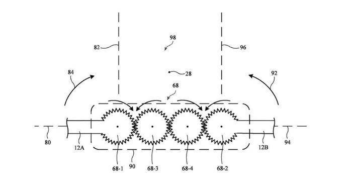
蘋果在此前的可折疊 iPhone 專利中說明,其鉸鏈設計通常為 3-4 個小齒輪繞著一個較大的齒輪旋轉。不過在這項名為"Hinges for Folding Display Devices"(為可折疊屏幕設計的多種鉸鏈)的專利中,提及了一種包含 4 對小齒輪和 6 個靜態部件組成的復雜鉸鏈設計。

相比較此前的大型鉸鏈結構,這種由多個小齒輪組成的鉸鏈系統更加復雜,且對工藝的要求也更高,不過這種鉸鏈可以改善使用體驗。

編輯點評:作為近期手機市場上的主流手機品類,折疊屏手機成為多數廠商角逐的新賽道,而一直以來堅持自我只做直屏手機的蘋果也開始了折疊屏相關技術的研究。盡管目前來看這只是一個初步的想法,但相信隨著蘋果的不斷鉆研,可折疊式 iPhone 或許已經在路上了。